首页
资讯如皋
美丽如皋
皋城美食
如皋故事
内容合作
首页
资讯如皋
美丽如皋
皋城美食
如皋故事
内容合作
首页
>
资讯如皋
突发!老板被爆卷款跑路?如皋这个项目又烂尾了……
作者: 大掌柜
2024年11月21日
资讯如皋
浏览
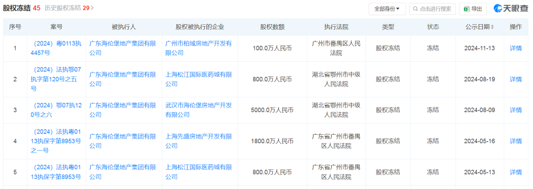
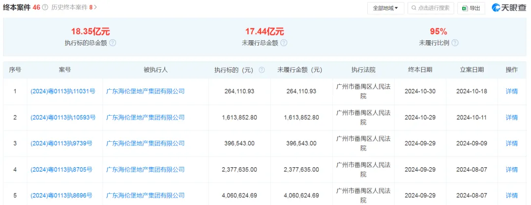
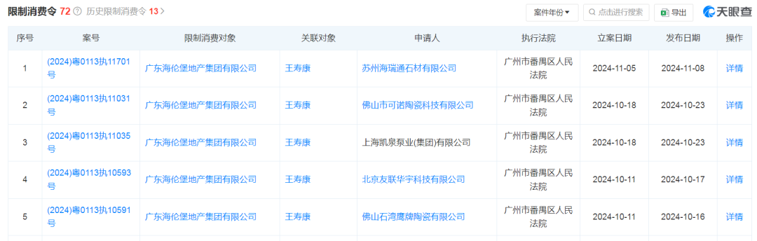
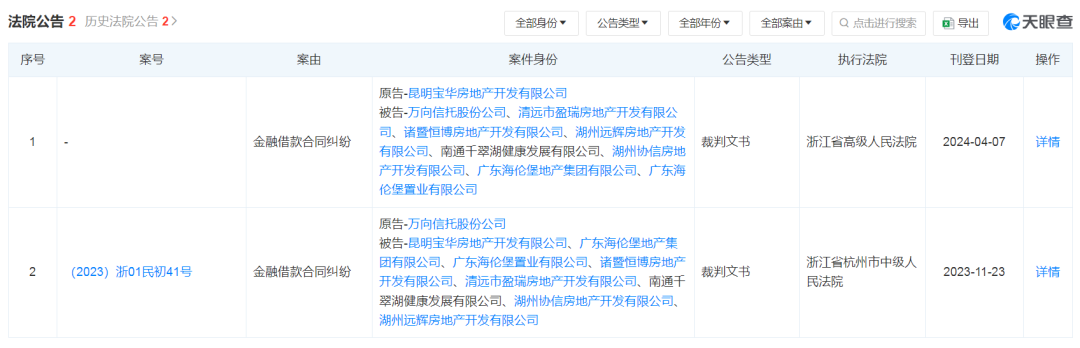
近日,有爆料称,中国“最低调”的百强房企老板——
广东海伦堡地产集团创始人
黄炽恒
,已将资产转移并疑似跑路。
爆料还透露,海伦堡某张姓副总裁现被浙江省丽水市经侦刑事拘留在浙江省丽水市看守所。
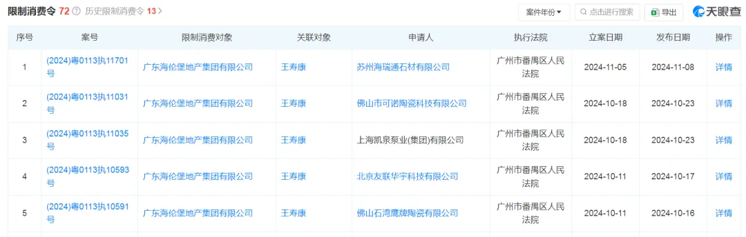
天眼查信息显示,广东海伦堡地产集团有限公司的法定代表人,目前已不是黄炽恒。
0
1
0
2
海伦堡地产集团在南通大市范围内共打造了两个项目,
都位于如皋市,分别是海伦堡东皋府和海伦堡逸璟园。其中,东皋府已完成交付,逸璟园至今还处于“烂尾状态”。
▲图源网络
▲图源网络
投稿热线:
400-178-0513
本文地址:
https://www.rugaow.cc/zixunrugao/568.html
这笔钱,家有高龄老人的居民可申领!
本周日20:00,CCTV-1聚焦如皋!
相关文章
事发如皋!3人当街被抓
-5℃!新一波冷空气要来了
实惨!如皋一男子被行拘
退钱了!如皋人抓紧